合作共赢,为企业注入新活力
让客户成功是企趣的本分,也是对自己最好的激励
走进客户,聆听客户的声音
优秀的企业都在用企趣
新零售、新市场、新激励
每次迭代一点点,客户价值多一点
全球领先的游戏化价值观激励平台
企趣云激励,让您的企业充满活力
不懂组织的CEO,不是一个好同事
数字化时代,充满活力的组织文化
用数字化技术,激发员工的善意和潜能
技术精英 + 管理专家 + 人力资源专家
加入企趣,一起成为这个时代的领导者
7x12小时,致力于为您提供专业的服务
①电子码模式的商品增加显示条形码
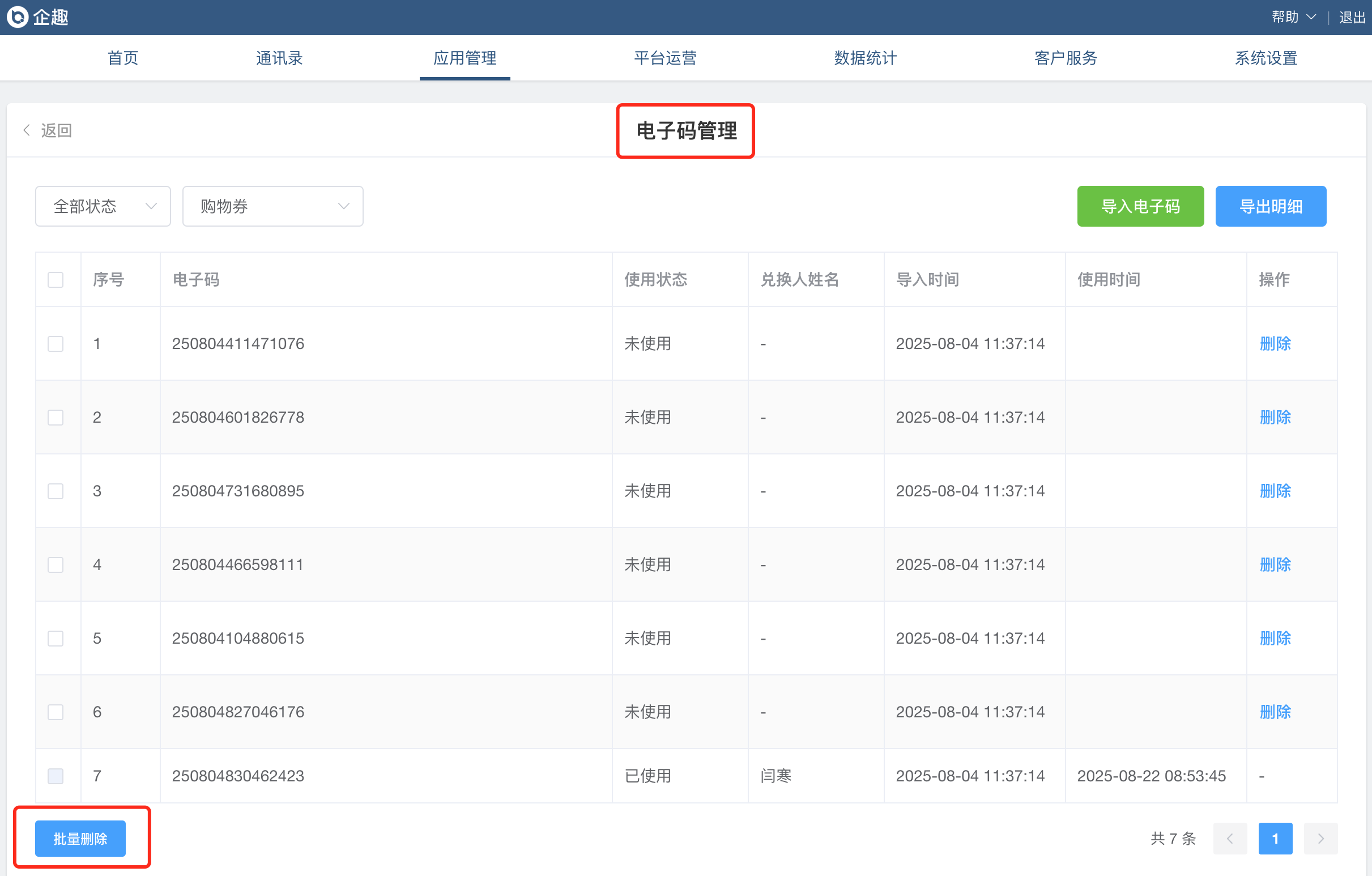
②电子码支持批量删除
③喜报榜新增喜报模板
④表彰卡道具支持设置个人限额
编辑表彰卡道具,支持设置个人限额,限制每人周期内使用道具数量
企业微信、钉钉、飞书官方推荐应用,20000家企业都在用
返回顶部
如您现在就需要帮助可拨打电话 400-100-7798 联系我们
请输入联系人姓名
请输入联系电话
请输入验证码
请输入公司名称
请输入公司规模
客户经理正在快马加鞭的赶来
赶快扫描下方二维码安装试用吧